
1.图层名称为必填项
2.坐标类型一旦确认将无法修改,该图层之上的地址点的坐标类型需要和图层创建时的坐标类型保持一致,坐标的注释如下:
目前中国主要有以下三种坐标系:
WGS84:为一种大地坐标系,也是目前广泛使用的GPS全球卫星定位系统使用的坐标系
GCJ02:是由中国国家测绘局制订的地理信息系统的坐标系统。由WGS84坐标系经加密后的坐标系
BD09:为百度坐标系,在GCJ02坐标系基础上再次加密。其中bd09ll表示百度经纬度坐标,bd09mc表示百度墨卡托米制坐标
推荐使用bd09ll百度经纬度坐标。
3.POI类型可以帮助客户给地址点分类,可以根据具体的配送场景进行设置。POI类型在输入之后直接按回车键即可。后续上传的地址点的POI类型需要在图层中先创建。
4.规则可以帮助客户给地址点设定配送的要求,比如“3米以下”、“双驾驶员”等,后续可以和车辆的技能相匹配。在输入之后直接按回车键即可,后续上传的地址点的规则需要在图层中先创建。

1. 查看:可以用地图模式或者列表模式查看图层上的地址点,并进行后续对地址点的增删改查等操作。
2.上传地址点:可以上传单个地址点,或者用Excel模板的形式批量上传。

3.创建路网:可以通过图层创建路网矩阵,需要在console上通过工单开通。路网矩阵是图层上每两点之间的距离和行驶时间,是后续智能调度、路线规划的基础。
4.下载地址点:可以将地址点的信息以Excel形式下载。
5.编辑:可以修改图层的名称、介绍、POI类型和规则。坐标类型一经创建,将无法修改。
6.删除:图层删除后,该图层上的地址点也会删除,请谨慎选择。

1. 批量选择地址点:可以根据POI和规则筛选符合标准的地址点,也可以用圆形、矩形及多边形的方式,选中部分地址点
2. 批量修改信息:选中的地址点可以统一进行收货时间窗口、POI类型和规则的修改。

3. 单个地址点的操作:选中单个地址点,可以进行删除操作,也可以进行名称的修改、地址的校准以及收货时间窗口、POI类型和规则的修改。

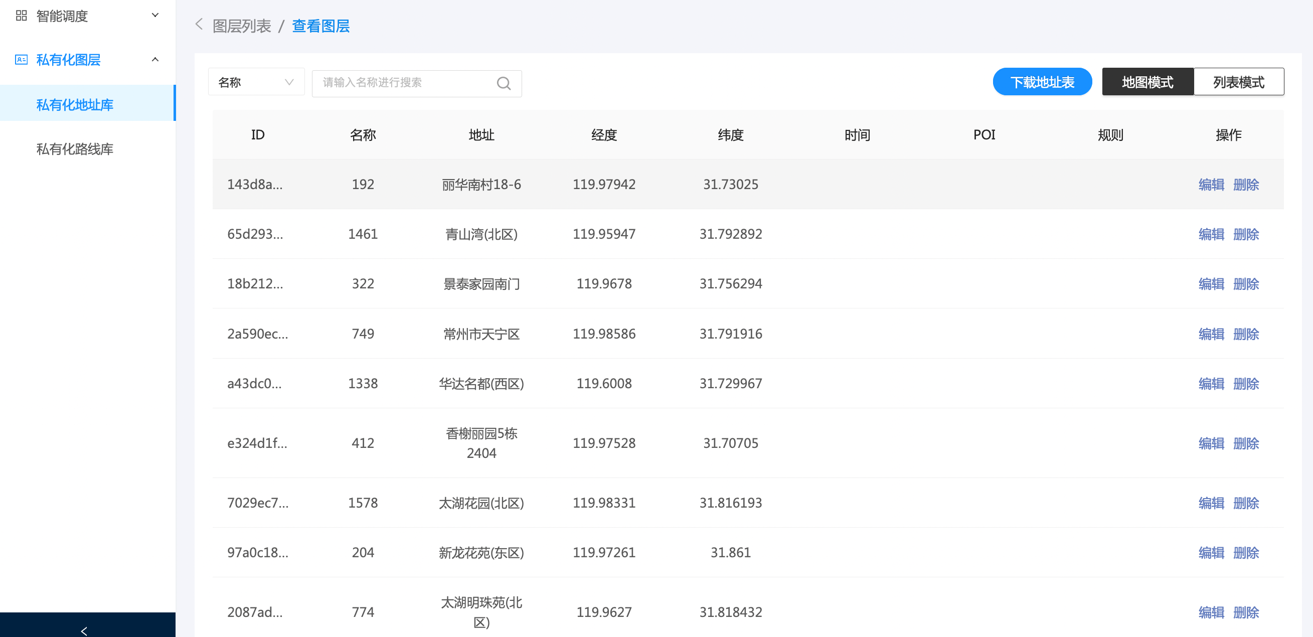
1. 搜索地址点:可以根据名称、地址、坐标、POI分类和规则进行筛选
2. 可以对单个地址点进行编辑和删除,也可以下载地址点列表

上一篇
下一篇
本篇文章对您是否有帮助?